
| 型號 | 分度號 | 測溫范圍℃ | 精度等級 | 允許偏差△t℃ |
| WZP | PT100 | -200~+500 | A級 | -200~650℃時允差±(0.15+0.002|t|) |
| B級 | -200~800℃時允差±(0.30+0.005|t|) |
| 型號 | 型譜代碼說明 | ||||||
| WZP | Pt100 鉑電阻 熱電阻 | ||||||
| 代碼 | 測溫芯片元件數量 | ||||||
| 1 | 單支 | ||||||
| 2 | 雙支 | ||||||
| 代碼 | 連接形式 | ||||||
| 1 | 無固定連接 | ||||||
| 2 | 固定螺紋連接 | ||||||
| 3 | 活動法蘭連接 | ||||||
| 4 | 固定法蘭連接 | ||||||
| 6 | 固定螺紋錐形式 | ||||||
| 代碼 | 接線盒形式 | ||||||
| 3 | 防水型 | ||||||
| 4 | 隔爆型 | ||||||
| 代碼 | 套管直徑 | ||||||
| 0(16) | φ16mm | ||||||
| 1(12) | φ12mm | ||||||
| T | 特殊說明 | ||||||
| 代碼 | 設計序號 | ||||||
| A | 異徑傳感器 | ||||||
| 代碼 | 傳感器尺寸(mm) | ||||||
| L/l | 總長/插深 | ||||||

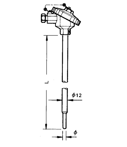
| 型號 | 分度號 | 測溫范圍℃ | 精度等級 | 熱響應時間τ0.5s | 長度L(mm) | 接線盒形式 |
| WZP-1212A | Pt100 | -200~500 | A級 | <45 | 150~1200 | 防濺式 |
| WZP2-1212A | ||||||
| WZP-1312A | 防水式 | |||||
| WZP2-1312A |

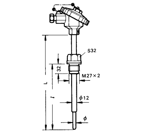
| 型號 | 分度號 | 測溫范圍℃ | 精度等級 | 熱響應時間τ0.5s | 長度L(mm) | 接線盒形式 |
| WZP-2212A | Pt100 | -200~500 | A級 | <45 |
225*75 250*100 300*150 。。。。。。 1350*1200 |
防濺式 |
| WZP2-2212A | ||||||
| WZP-2312A | 防水式 | |||||
| WZP2-2312A | ||||||
| WZP-2412A | 隔爆型 | |||||
| WZP2-2412A |

| 型號 | 分度號 | 測溫范圍℃ | 精度等級 | 熱響應時間τ0.5s | 長度L(mm) | 接線盒形式 |
| WZP-4212A | Pt100 | -200~500 | A級 | <45 |
225*75 250*100 300*150 。。。。。。 1350*1200 |
防濺式 |
| WZP2-4212A | ||||||
| WZP-4312A | 防水式 | |||||
| WZP2-4312A | ||||||
| WZP-4412A | 隔爆型 | |||||
| WZP2-4412A |